轻量化专利
RSS
  • 一种铝合金结构轻量化的半挂物流运输车- CN201420595035.X
    本实用新型提供一种铝合金结构轻量化的半挂物流运输车,包括:半挂车底架,形状为矩形,封闭于该箱体的底部;侧壁,所述侧壁包括设置在所述半挂车底架左侧的左侧板、设置在所述半挂车底架前方的前板、设置在所述半挂车底 ...……
    作者:admin 2016-4-21 14:22 阅读:1541 回复:0
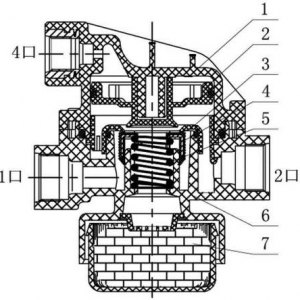
  • 轻量化汽车电磁阀结构- CN201520379886.5
    本实用新型公开了一种轻量化汽车电磁阀结构,简化设计在电磁阀设计制造中将原有的电磁阀中金属材质的外壳和法兰安装盘,密封垫(环)取消,且不再需要考虑外壳与线圈间间隙对产品的影响,使用高性能的工程塑料替代现有 ...……
    作者:admin 2016-4-21 12:14 阅读:1561 回复:0
  • 后置双瓶LNG轻量化气瓶总成- CN201520155934.2
    本实用新型涉及汽车装配领域,具有为一种后置双瓶LNG轻量化气瓶总成,主要由以下几部分组成:框架总成1、LNG气瓶2、拉带4、橡胶垫带Ⅰ3、橡胶垫带Ⅱ10、管路防护罩5、加液口防护罩6、面板防护罩7、后防护罩8、自增压 ...……
    作者:admin 2016-4-21 12:12 阅读:1060 回复:0
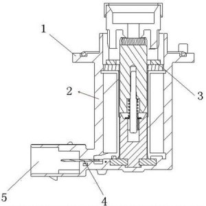
  • 一种轻量化继动阀- CN201320596951.0
    本实用新型涉及一种汽车用配件,一种轻量化的继动阀,包括上阀体、下阀体、继动活塞、阀门座,继动活塞和阀门座位于上阀体和下阀体的腔体内,上阀体和下阀体分别为尼龙材料的上阀体和下阀体,上阀体和下阀体间设有安 ...……
    作者:admin 2016-4-21 12:10 阅读:1156 回复:0
  • 一种轻量化制动盘- CN201420076752.1
    本实用新型公开了一种轻量化制动盘,包括制动盘面,摩擦弧,筒体,安装盘体和连接筋;两个所述制动盘面由若干所述连接筋连接为一体,八段相同的所述摩擦弧构成两个圆环形摩擦面,分别固定在两个制动盘面上,所述筒体 ...……
    作者:admin 2016-4-21 12:08 阅读:1279 回复:0
  • 一种新型轻量化悬架托梁- CN201320704400.1
    本实用新型涉及汽车领域,具体而言,涉及一种新型轻量化悬架托梁。该新型轻量化悬架托梁,包括一对相对设置的立板,两块所述立板上设有一组连接管,所述连接管均穿过所述立板,且与两块所述立板垂直,所述连接管的两 ...……
    作者:admin 2016-4-21 12:06 阅读:1213 回复:0
  • 一种新型轻量化悬架结构- CN201320701408.2
    本实用新型涉及汽车领域,具体而言,涉及一种新型轻量化悬架结构。该新型轻量化悬架结构,包括一对相对设置的立板,所述立板上设有多个连接孔,两块所述立板上设有相对设置的车桥连接支座,所述车桥连接支座均通过连 ...……
    作者:admin 2016-4-21 12:03 阅读:1398 回复:0
  • 一种轻量化液压加气车- CN201420525106.9
    本实用新型涉及一种轻量化液压加气车。汽车的二类底盘上固定框架,框架内前高后低倾斜固定气瓶,气瓶的前后分别固定前端高压气路和后端高压油路,前端高压气路与加气装置密封相通,加气装置与控制装置电连接,后端高 ...……
    作者:admin 2016-4-21 12:01 阅读:1414 回复:0
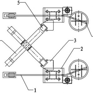
  • 一种轻量化的悬浮座椅“X型”结构- CN201420201848.6
    本实用新型公开了一种轻量化的悬浮座椅“X型”结构,本实用新型对外铰支架进行压型处理,外铰支架的横截面呈[形结构,外铰支架[形结构的立板呈凹凸形状,外铰支架的外侧焊接有第一加强板,第一加强板位于外铰支架和 ...……
    作者:admin 2016-4-20 14:43 阅读:1866 回复:0
  • 一种轻量化的汽车转向传动伸缩轴- CN201420371369.9
    本实用新型公开了一种轻量化的汽车转向传动伸缩轴总成,包括伸缩管、伸缩轴、钢球保持架和钢球等,所述钢球保持架套设于伸缩轴上,所述伸缩管套设于伸缩轴上,所述伸缩管和伸缩轴上分别设置有伸缩管球槽和伸缩轴球槽 ...……
    作者:admin 2016-4-20 14:40 阅读:1208 回复:0
  • 一种轻量化汽车后排座椅侧翼结构- CN201420485439.3
    本实用新型公开了一种轻量化汽车后排座椅侧翼结构,是由EPP侧翼骨架、上挂点支架和下挂点支架构成,上挂点支架和下挂点支架分别设置在EPP侧翼骨架内侧的上下部,EPP侧翼骨架与上挂点支架和下挂点支架镶嵌模压后一体 ...……
    作者:admin 2016-4-20 14:15 阅读:1495 回复:0
  • 分体式轻量化汽车后排座椅靠背骨架- CN201420484958.8
    本实用新型公开了一种分体式轻量化汽车后排座椅靠背骨架,是由内嵌钢丝骨架和EPP外包层构成,EPP外包层包裹在内嵌钢丝骨架外,内嵌钢丝骨架与EPP外包层镶嵌模压后一体成型,所述的内嵌钢丝骨架是由钢丝和冲压件焊接 ...……
    作者:admin 2016-4-20 14:12 阅读:1612 回复:0
  • 轻量化工程车斗- CN200920008821.4
    本实用新型公开了一种轻量化工程车斗,由左侧板(1),右侧板(2)、底板(3)、端板(4)、前沿板(5)和柔性缆线(6)组成,左侧板(1),右侧板(2)、底板(3)、端板(4)、前沿板(5)的四周均设置为方钢(7)架。在方钢(7)之间设置柔 ...……
    作者:admin 2016-4-20 14:10 阅读:1488 回复:0
  • 轻量化汽车驱动轮多台阶轮毂轴承单元- CN201520252035.4
    本实用新型涉及一种轮毂轴承单元,尤其是涉及一种轻量化汽车驱动轮多台阶轮毂轴承单元。其主要是解决现有技术所存在的轮毂轴承单元的台阶较少,定位较不准确,并且轮毂的重量较重,耐磨性较差等的技术问题。本实用新 ...……
    作者:admin 2016-4-20 14:07 阅读:1467 回复:0
  • 轻量化汽车座椅升降机构- CN201420583917.4
    本实用新型公开了一种汽车座椅升降机构,包括置于在滑道上的座椅骨架,座椅骨架通过支撑件和升降装置与滑道相连接,支撑件为固连在滑道上的前、后铰座以及固连在椅座骨架上与前、后铰座相铰接的前、后连接杆;升降装 ...……
    作者:admin 2016-4-20 14:04 阅读:1231 回复:0

精彩阅读

广告位

关注汽车轻量化最新动态

官方微信

汽车材料网

全国服务热线:

0551-63857995

地址:安徽省合肥市庐阳区四里河鼎鑫中心

邮编:230001 Email:service@qichecailiao.com

Powered by 汽车轻量化在线  皖ICP备10204426号-2

小黑屋-手机版- 汽车轻量化在线