轻量化专利
RSS
  • 一种高性能轻量化悬挂减震支架- CN201420578765.9
    本实用新型涉及汽车发动机技术领域,具体地说是一种高性能轻量化悬挂减震支架,包括支架本体(1),所述支架本体(1)的上部设有支撑部(2),所述支架本体(1)下部的侧面设有限位面(3),所述支撑部(2)内侧设有向内凹陷的减 ...……
    作者:admin 2016-4-20 14:02 阅读:1333 回复:0
  • 一种间隙可调式的复合结构的轻量化气门挺柱- CN201420487490.8
    本实用新型涉及一种间隙可调式的复合结构的轻量化气门挺柱,属于汽车发动机的配气机构技术领域。包括圆柱形筒身,所述圆柱形筒身内部底部设有安装孔,所述安装孔下方设有安装槽,所述安装孔和安装槽内设有用于与气门 ...……
    作者:admin 2016-4-20 10:07 阅读:1338 回复:0
  • 一种轻量化车身侧面造型结构- CN201420030096.1
    本实用新型涉及一种轻量化车身侧面造型结构,属于汽车技术领域,包括车架,车架的车身外侧面连接有造型块,造型块贴合于车架的外侧面形成车身的侧面造型,造型块可直接贴合于车架的车身,因此造型块的安装十分方便, ...……
    作者:admin 2016-4-20 10:01 阅读:1115 回复:0
  • 一种模块化连接的轻量化车架主体- CN201420030095.7
    本实用新型涉及汽车技术领域,特指一种模块化连接的轻量化车架主体,包括车底架模块、车身架模块和车顶架模块,所述各模块分别由若干纵梁、横梁相互榫接而成,所述车底架模块设置有若干插接套,所述车顶架模块的两侧 ...……
    作者:admin 2016-4-20 09:58 阅读:1230 回复:0
  • 轻量化铸造制动蹄- CN201120529807.6
    本实用新型涉及一种轻量化铸造制动蹄,属于汽车制动技术领域。为克服现有技术中铸造制动蹄重量大的不足,本实用新型提供了一种轻量化铸造制动蹄,包括蹄板和腹板部分,其横向截面为倒“工”字形结构;所述腹板在回位 ...……
    作者:admin 2016-4-20 09:53 阅读:1011 回复:0
  • 一种轻量化重卡驱动桥桥壳总成- CN201120557340.6
    本实用新型涉及一种驱动桥,具体涉及一种轻量化重卡驱动桥桥壳总成,属于汽车零部件技术领域,所述的轻量化重卡驱动桥桥壳总成包括桥壳中段、轴头和后盖,轴头采用摩擦焊对称焊接在桥壳中段两端,后盖连接在桥壳中段 ...……
    作者:admin 2016-4-20 09:50 阅读:1166 回复:0
  • 一种轻量化汽车头枕支杆- CN201120540191.2
    本实用新型涉及一种轻量化汽车头枕支杆,包括支承部分、连接部分和调节导向部分,所述的调节导向部分是由两根左右对称的钢管组成,所述的调节导向部分的前端与连接部分相连,所述的连接部分由两根左右对称的弯曲钢管 ...……
    作者:admin 2016-4-19 14:11 阅读:1278 回复:0
  • 轻量化巴士车架- CN201120451696.1
    本实用新型属于汽车技术领域,具体涉及轻量化巴士车架,包括环绕于车头、车两侧和车尾的环形框,环形框分为车顶环形框、车腰环形框和车底环形框,车腰环形框在车门处留空,车底环形框在放置车轮处向上拱起以容纳车轮 ...……
    作者:admin 2016-4-19 14:08 阅读:1052 回复:0
  • 轻量化的轻型卡车车架总成- CN201120356302.4
    本实用新型涉及轻量化的轻型卡车车架总成。该车架的第一横梁总成、第二横梁总成、第三横梁总成、第四横梁总成、第五横梁总成、备胎横梁和后横梁的两端均分别连接着左纵梁和右纵梁;左纵梁和右纵梁的材料均为高强度钢 ...……
    作者:admin 2016-4-15 15:32 阅读:1493 回复:0
  • 一种轻量化车厢- CN201120307644.7
    本实用新型公开了一种轻量化车厢,由车厢前板、车厢后板、边侧板及底板组成,所述底板焊接在底部具有副车架的底板纵梁上,所述底板两短边分别焊接车厢前板及车厢后板;在底板两长边分别焊接边侧板,所述两边侧板上沿 ...……
    作者:admin 2016-4-15 15:29 阅读:1310 回复:0
  • 应用于商用车的轻量化半挂车- CN200820024738.1
    本实用新型属汽车技术领域,具体涉及一种应用于商用车的轻量化半挂车。其特征是纵梁为工字型采用铝合金材料一次挤压成型,在两个纵梁之间设多个横梁相连;边挡立柱之间上侧设边挡板框架,下侧设铝板压成瓦棱形状边挡 ...……
    作者:admin 2016-4-12 14:52 阅读:1336 回复:0
  • 一种汽车用散热型轻量化车轮轮辐- CN201020553032.1
    本实用新型公开了一种汽车用散热型轻量化车轮轮辐,该轮辐为锥台筒形;在该轮辐的锥台筒形的筒壁上均匀分布有多个散热孔;在相邻的散热孔之间设有相对于筒壁的外表面呈凸出或凹入的加强筋,并使轮辐的锥台筒形的筒壁 ...……
    作者:admin 2016-4-12 14:48 阅读:907 回复:0
  • 一种轻量化桥- CN201320843882.9
    本实用新型涉及一种轻量化桥,包括手动调整臂,所述手动调整臂将调节定位数量设计为12等分,调整臂壳体蜗杆孔的一端设计成盲孔形式,调整臂壳体蜗杆孔的另一端采用O形橡胶密封圈和防尘罩双重橡胶密封。通过对现有技 ...……
    作者:admin 2016-4-12 14:38 阅读:1244 回复:0
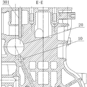
  • 气缸体轻量化结构- CN201420303517.3
    本实用新型公开了一种气缸体轻量化结构,包括机体,机体内具有主油道,在机体上油位置处压装上油导管,上油导管与主油道连通。该结构的气缸体重量轻,满足汽车轻量化要求。……
    作者:admin 2016-4-11 15:44 阅读:1340 回复:0
  • 轻量化油底壳- CN201320509958.4
    本实用新型的轻量化油底壳,属于汽车零部件技术领域,本实用新型的轻量化油底壳,包括由底壁部和周壁部构成的贮油部,贮油部的上端具有开放口,周壁部的上端面设置有吸油口,周壁部的内侧面设置有出油口,贮油部的内 ...……
    作者:admin 2016-4-11 15:40 阅读:1156 回复:0

精彩阅读

广告位

关注汽车轻量化最新动态

官方微信

汽车材料网

全国服务热线:

0551-63857995

地址:安徽省合肥市庐阳区四里河鼎鑫中心

邮编:230001 Email:service@qichecailiao.com

Powered by 汽车轻量化在线  皖ICP备10204426号-2

小黑屋-手机版- 汽车轻量化在线