一种轻量化汽车独立悬架结构- CN201420700207.5

2016-1-8 15:57 1290 0
简介
【基本信息】: 申请号:CN201420700207.5 优先权:暂无信息 申请日:2014-11-20 公开/公告号:CN204278983U 公开/公告日:2015-04-22 申请/专利权人:杭州云乐车辆技术有限公司 发明/设计人: ...

【基本信息】:

申请号: CN201420700207.5

优先权: 暂无信息

申请日: 2014-11-20

公开/公告号: CN204278983U

公开/公告日: 2015-04-22

申请/专利权人: 杭州云乐车辆技术有限公司

发明/设计人: 潘之杰

主分类号: B60G15/02

分类号: B60G15/02 ; B60G21/05

分案申请: 暂无信息

更多著录项目

【摘要】:

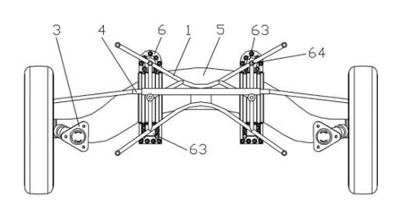
本实用新型涉及汽车制造领域,公开了一种轻量化汽车独立悬架结构。其包括副车架(1)、左右对称布置的两个转向节(2)以及固定在转向节(2)上的减震器(3)和转向机拉杆(4),还包括板簧(5)和夹在板簧(5)上的板簧固定夹板(6),板簧(5)两端端部分别固定在两个转向节(2)上,副车架(1)连接在板簧固定夹板(6)上。本实用新型中采用了不仅具有弹性元件的作用,还兼具摆臂、导向的作用的单片板簧,同时本实用新型还具有结构简单,重量轻,成本低,拆装操作简便容易,占用车身空间小,簧下质量小,汽车的平顺性好等优点。

【附图】:

【主权项】:

一种轻量化汽车独立悬架结构,包括副车架(1)、左右对称布置的两个转向节(2)以及固定在转向节(2)上的减震器(3)和转向机拉杆(4),其特征在于:还包括板簧(5)和夹在板簧(5)上的板簧固定夹板(6),板簧(5)两端端部分别固定在两个转向节(2)上,副车架(1)连接在板簧固定夹板(6)上。

【法律状态】:

法律状态公告日

法律状态

法律状态详情

2015-04-22

有效专利

授权

 点击下载全文:CN201420700207.5-一种轻量化汽车独立悬架结构-申请.pdf

 


路过

雷人

握手

鲜花

鸡蛋
此篇文章已有0人参与评论

请发表评论

全部评论

关注汽车轻量化最新动态

官方微信

汽车材料网

全国服务热线:

0551-63857995

地址:安徽省合肥市庐阳区四里河鼎鑫中心

邮编:230001 Email:service@qichecailiao.com

Powered by 汽车轻量化在线  皖ICP备10204426号-2

小黑屋-手机版- 汽车轻量化在线