纯电动汽车轻量化车身前防撞保护梁- CN201220104863.X

2016-1-12 15:32 1730 0
简介
【基本信息】: 申请号:CN201220104863.X 优先权:暂无信息 申请日:2012-03-20 公开/公告号:CN202481018U 公开/公告日:2012-10-10 申请/专利权人:北京北方鸿瑞汽车技术有限公司 发明/设计 ...

【基本信息】:

申请号: CN201220104863.X

优先权: 暂无信息

申请日: 2012-03-20

公开/公告号: CN202481018U

公开/公告日: 2012-10-10

申请/专利权人: 北京北方鸿瑞汽车技术有限公司

发明/设计人: 白瑞平

主分类号: B60R19/04

分类号: B60R19/04

分案申请: 暂无信息

更多著录项目

【摘要】:

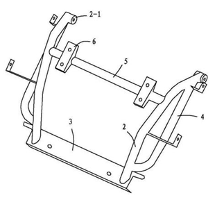
本实用新型涉及纯电动汽车轻量化车身前防撞保护梁,包括两个相互平行设置的弯管梁,两个弯管梁一端分别设置有与主车架前部上端铰接的活动连接吊耳,两个弯管梁另一端连接一个横梁,横梁用于与主车架前部下端固定连接,所述弯管梁两端之间连接有一个竖梁,两个弯管梁中段之间设置有加固梁,所述连接吊耳采用无缝钢管,无缝钢管内置橡胶套。本实用新型的有益效果是:两个弯管梁上端分别设置有与纯电动汽车轻量化车身主车架前部上端铰接的活动连接吊耳,使保护梁上部相对主车架有一定的自由度,对于撞击力有很好的消解作用,弯管梁双向维度结构,对抗击撞击强度有很大提高,本实用新型结构简单,方便加工和安装。

【附图】:

【主权项】:

纯电动汽车轻量化车身前防撞保护梁,其特征在于,所述防撞保护梁包括两个相互平行设置的弯管梁,两个弯管梁一端分别设置有与主车架前部上端铰接的活动连接吊耳,两个弯管梁另一端连接一个横梁,横梁用于与主车架前部下端固定连接,所述弯管梁两端之间连接有一个竖梁,两个弯管梁中段之间设置有加固梁,所述连接吊耳采用无缝钢管,无缝钢管内置橡胶套。

【法律状态】:

法律状态公告日

法律状态

法律状态详情

2012-10-10

有效专利

授权

 点击下载全文:CN202481018U-纯电动汽车轻量化车身前防撞保护梁-申请.pdf

 


路过

雷人

握手

鲜花

鸡蛋

相关阅读

此篇文章已有0人参与评论

请发表评论

全部评论

关注汽车轻量化最新动态

官方微信

汽车材料网

全国服务热线:

0551-63857995

地址:安徽省合肥市庐阳区四里河鼎鑫中心

邮编:230001 Email:service@qichecailiao.com

Powered by 汽车轻量化在线  皖ICP备10204426号-2

小黑屋-手机版- 汽车轻量化在线