新材料与工艺手册
导读

[轻量化专用车] 桥门式起重机小车轻量化的探讨

2
回复
8481
查看
[复制链接]

微信扫一扫 分享朋友圈

发表于 2021-4-25 12:00:29 | 显示全部楼层 |阅读模式

注册后就可以查看哦!

您需要 登录 才可以下载或查看,没有账号?立即注册

x
桥门式起重机小车轻量化的探讨
白晓君 罗 娜 李 雷
(水利部杭州机械设计研究所,浙江 杭州 310012)
摘要:通过对起重机的分析研究,分别从设计方法、生产工艺、原材料以及结构形式等方面进行优化设计,提高产品性能,增强市场竞争力,使桥、门式起重机向轻量化、节能型、安全可靠等国际先进技术方向发展,为我国装备制造业节能减排战略与低碳经济发展做贡献。
关键词:起重机;轻量化;设计
1 概要

桥式起重机与门式起重机为本公司主要产品之一,现有的传统桥门式与国外起重机比较,国内起重机不论从重量还是体积都比国外起重机要重,要大。我们国家的起重机大部分是延续了苏联时期的设计风格,安全系数偏于保守。随着科学技术不断进步,计算方法以及计算工具发生了很大的变化。因此,本公司目前在起重机设计理念方面有了较大的变化,分别从设计方法、生产工艺、原材料、以及结构形式等方面进行优化设计。

2 新加坡MG15t+15t-30m双小车新型龙门吊设计的特点与主要技术2.1 设计特点

(1)小车起升机构紧凑布置。小车起升机构采用空心轴减速机与卷筒轴连接,电动机,联轴器,制动器紧密相连。布置简单紧凑,性能可靠,安全稳定。(2)小车架钢结构柔性布置。小车架采用“工”字型结构,由两根端梁与一根主梁组成,柔性布置,与传统小车架刚性结构相比,更加可靠,避免“三条腿”现象。(3)电气控制精度高。此新型龙门吊采用交流变频调速+PLC程序控制的控制方式,各机构动作精确度均小于5mm。(4)模块化设计,更加高效,生产效率与材料利用率明显提高。

2.2 主要技术

(1)新型轻量化小车设计。起重机轻量化的关键在于小车的轻量化,小车自重降下来,对于整机的工作性能和制作成本有很重要的影响。

传统桥、门式起重机小车的起升机构是通过轴承座底座、减速机底座、电机底座、制动器底座等全部焊接在刚性小车架上表面,使得整个机构高度高,体积大,质量大,安装要求高。

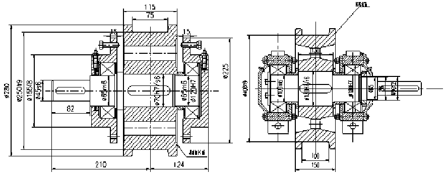
而我们与之对比的轻量化小车则采用三支点支撑安装形式(图1),小车架采用“工”字型结构,由两根端梁与一根主梁组成,柔性布置。主梁内部装有双排滑轮的承载梁,端梁上整体加工出用于支撑卷筒的轴承座镗孔,卷筒组两端与两根端梁连接,起升减速机为空心轴形式与卷筒轴连接,布置在小车架的侧面,这样的布置形式可以将卷筒组布置在小车架内部,小车起升机构中的减速机和卷筒都降低到小车架的上平面以下,使得起重小车的高度有了明显的降低。小车运行机构采用“三合一”减速电机的布置形式,使得结构布置紧凑,占用空间较小,也可使安装位置相应减小。起升减速器由传统的中硬齿面减速机升级为硬齿面起升减速机,体积小,承载能力强,精度高,耐磨性能好,使用寿命长,使整个设备的使用性能得以提高。

图1

(2)新型轻量化小车架结构设计。传统桥、门式起重机小车架结构为一个刚性框架,由两根端梁和主梁,次梁以及许多加强筋板组焊而成,这种小车架结构复杂,焊接复杂,制造难度大,焊接量大,易变性。由于刚性框架,轻载时容易三个车轮着地,一个车轮架空,造成“三条腿”现象。这种现象在小车启动和制动时,车身摇摆,起吊物也随之摇摆,造成轮压不均,引起车轮啃轨问题,长时间使得车轮轮缘磨损严重等一系列问题。传统小车架结构计算复杂,设计冗余,安装在小车架上的起升机构以及运行机构布置松散,导致小车架结构外形尺寸偏大,自身重量偏重。

与之对比的新型轻量化小车架采用“工”字型结构,由两根端梁与一根主梁组成。主梁内部装有定滑轮组,两端放置于端梁上,端梁的左右端整体镗孔,做轴承座,安装小车运行机构主动车轮组和被动车轮组,这种小车架结构简单,柔性化设计,受力清晰,简支梁设计,能够很好地适应恶劣的运行工况,如遇到轨道不平或制造安装原因造成的小车车轮位置误差,也能四角车轮紧贴轨道,不会出现“三条腿”现象,避免了啃轨问题。新型轻量化柔性小车架结构比传统结构重量减轻25%左右,这样相应对桥架或门架的设计更加有利,整机自重的降低有积极的正影响。

图2

(3)轻量化吊钩滑轮组设计。传统吊钩滑轮组的设计为单排滑轮,即卷筒轴和滑轮轴的方向一致,受钢丝绳绕入卷筒得偏角限制,吊钩滑轮组往往与小车架底部存在一个最小极限距离。到达最小极限距离后,虽然离小车架底部的间距还有1m多的距离,但是无法继续上升。起升高度受限,只能提高门机高度或者厂房高度来满足起升高度的要求。

(4)轻量化车轮组设计。传统桥、门式起重机车轮组普遍采用带有角型轴承箱的车轮组的形式,这种车轮组的完全靠装配工人手动调整校验车轮装配的直线度等技术参数,安装精度要求低,属于粗矿式的一种形式,角型轴承箱体积大,重量较大,使得小车架结构高度增加。

图3

车轮的材料主要有铸钢ZG340-640等,采用不同材料是,计算车轮踏面点接强度时的材料系数K2值不同,使得车轮的承载能力也有较大差异。新加坡MG15t+15t-30m双小车新型龙门吊车轮材料采用强度等级更高的65Mn锻造,与铸钢ZG340-640相比,K2值相差1.9倍,同样是15t起重小车,传统型起重机小车车轮直径为Φ500mm时,轻量化起重机车轮直径为Φ250mm。这样轻量化车轮组采用强度等级更高的材料,使得车轮直径做的更小,结构小,重量轻,承压大。

3 结语

起重机制造行业竞争日益激烈,利润空间逐渐缩小,这促使我们通过技术创新,技术升级,降低设计冗余,提高产品性能,增强市场竞争力,使本公司桥门式起重机向轻量化,节能型,安全可靠等国际先进技术方向发展,为我国装备制造业节能减排战略与低碳经济发展做贡献。



发表于 2021-5-27 16:21:26 | 显示全部楼层
谢谢楼主分享
回复 支持 反对

使用道具 举报

发表于 2021-7-19 14:50:58 | 显示全部楼层
好内容,多多分享
回复 支持 反对

使用道具 举报

您需要登录后才可以回帖 登录 | 立即注册

本版积分规则

关注汽车轻量化最新动态

官方微信

汽车材料网

全国服务热线:

0551-63857995

地址:安徽省合肥市庐阳区四里河鼎鑫中心

邮编:230001 Email:service@qichecailiao.com

Powered by 汽车轻量化在线  皖ICP备10204426号-2

小黑屋-手机版- 汽车轻量化在线