汽车轻量化在线 首页 行业资讯轻量化访谈
Empty Ads

Model 3 电池产能危机和轻量化的秘密 | HOW奇心

2018-8-16 08:50 1750 0 来自: 搜狐
简介
Model 3 能跑多远?有车主在一次 450 公里几乎全是高速路的旅途中没有进行中途补电,满电出发到家之后还剩 6%,另外一个在湾区生活的车主在车子跑了 1.6 万公里之后百公里平均电耗为 14.8 kWh,以 Model 3 长续航版 ...

Model 3 能跑多远?

有车主在一次 450 公里几乎全是高速路的旅途中没有进行中途补电,满电出发到家之后还剩 6%,另外一个在湾区生活的车主在车子跑了 1.6 万公里之后百公里平均电耗为 14.8 kWh,以 Model 3 长续航版本标定电量 75 kWh 的电量来计算,能跑近 507 公里,以官方透露的可用电量 78 kWh 来算的话,能跑 527 公里。

注:根据 EPA 数据,Model 3 总电量 80.5 kWh,官方透露实际可用电量 78 kWh,百公里平均电耗两次报备数据分别是 16.2/16.7 kWh。

图片来自 Ryan

这些续航表现都来自车主的实际使用,而非 EPA、NEDC 这些标准状态下的测试场景。

也就是说 Model 3 是目前市售纯电动汽车中实际续航里程最大的车型,真实情况下可能比特斯拉自家的旗舰车型 Model S P100D 都要跑得远。

特斯拉把 Model 3 的 EPA 续航成绩从 334 英里(537 公里) 改成了 310 英里(499 公里)

Model 3 能在续航上获得如此优秀的成绩主要归功于特斯拉并没有因为 Model 3 相比旗舰车型更便宜而不应用最新的技术。相反,Model 3 无论是电机,电控,电池(俗称三电),还是整车电子架构,风阻设计都凝聚了特斯拉在电动汽车行业十几年的沉淀。(好像吹得有点过了)

换而言之,如果不考虑车辆尺寸因素,Model 3 比现款的 Model S/X 无论在哪方面都来得更棒,而且还更便宜。如果 Model S/X 车主因此心生怨气,请出门右拐找 Elon Musk,或者卖车换 Model 3。

长续航、快充和轻量化

前面谈到,Model 3 的三电系统是特斯拉在电动汽车行业十几年沉淀的产物,而作为能量核心的电芯和电池包,则是 Model 3 三电系统中最亮的明珠。

首先,Model 3 所使用的 2170 电芯是革命性的牛逼。大部分介绍这款电池的资料都会提到它相对于 18650 的尺寸变化,从 18 毫米直径和 65 毫米长度变为 21 毫米直径和 70 毫米长度。事实上特斯拉 2170 真正的亮点在突破了三元锂电池能量密度和快充能力“鱼和熊掌不可兼得”的定律。

这种电池在提升能量密度到 268 Wh/kg 的同时还提供了最高 2.2C 的快速充电能力。长久以来这两项属性在同一种锂电池上是此消彼长的关系,很难在提升能量密度的同时又提高充电能力。

得益于 2.2C 的快速充电能力,Model 3 将能在新款 180 kW 超充上获得 0-80% 电量大约 20 分钟的充电速度,以车主实际使用经验来看,80% 电量能获得约 400 公里的实际续航里程。

相比保时捷还在雾里看花的 350 kW 快充体系,特斯拉下一代 180 kW 的超充和 Model 3 已经实现的 2.2 C 快充能力显然务实的多,20 分钟补充 400 公里实际续航的使用体验也已经离汽油车使用阈值不远。

也因此 Munro & Associates 的 Sandy Munro 对 Model 3 所使用的 2170 是赞不绝口。

2170 电芯的提升是一方面,这个内容以后有机会再展开。

第二点更重要的是,电池包结构是另一番“翻天覆地”。这个关系到 Model 3 之前电池产能出现危机的核心原因。

Model X 的设计思路是很轻的车身,很牢固但很重的电池包。

Model 3 的设计思路相反,电池包追求极致减重,结构强度的事情交还给车身。甚至为了追求减重,造成了不少加工工艺上的问题,以至于在早期量产过程中难以提升电池包产能。

不过这对马斯克来说似乎是家常便饭的事情,先把产品目标达到,再解决工艺问题,无论是造车还是造火箭。

先说一下 Model 3 电池包的减重成果,在车身主要结构使用钢材的情况下,Model 3 的车重控制在 1.7 吨,对应的是最大 80.5 kWh 的电池容量(实际 BMS 控制在 78 kWh 的放电能力),与之相同档次汽油车如宝马 3 系和奔驰 C 级的车重在 1.5-1.6 吨。这是继充电能力接近汽油车使用阈值之后,又一个与汽油车极为接近的电动车弱项。

装了 80.5 度电的 Model 3 电池包重量仅有 478 公斤,其中非电池部分重量 169 公斤。而 Model S 85D 版本总能量为 81.5 kWh 的电池包重量 545 kg。也就是实现相似电池容量的电池包,重量减轻大约 67 kg。

怎么做到的?

一、电芯数量减少了。

来自电池能量密度的提升已经赋予了 Model 3 相当可观的电池包能量密度,而应用单个容量更大的 2170 电池所带来的另外一个好处则是电池数量的大大降低,从 Model S 的 7000 多节降低到 4416 节。

电芯数量少了在减重上有啥作用?

首先是更短的散热管路长度。即便是考虑到 2170 单个电池比 18650 需要更多的散热接触面积,4416 节所需要的散热管长度还是比 7000 多节降低许多。

其次是电气结构集成度高,DC-DC、充电机、配电器全部集成,而且每一个模块相对 ModelS/X 也更小、更轻。值得一提的是,Model 3 布置电气设备的 service panel 是和电池包主体部分隔离的,在需要维修的时候可以独立打开。

拆解开的 Model 3 电池包,最左侧的模组已经被拆走

最大头的则是结构减重,大部分 Model S 车型的电池包分为 16 个小模组( S60 为 14 个模组),Model 3 长续航版的电池包则只有 4 个模组。更少的模组意味着更少的电池包内部隔断、电池组 BMS、线束和散热管路接口。

绿色部分是 Model 3 上使用超高强度钢材的部分,可以看到底部的电池包基本被超高强度钢所包围

前面提到,Model 3 的电池包安全问题交还给了车身,电池组的安装位置基本覆盖了乘员舱,因此原本在车身底部围绕起来保护成员的高强度钢结构同时被用来保护电池,而电池包结构组件只用于承载电池包自身重量。 Model S 电池包的保护壳就重达 125 公斤,Model 3 的电池包去掉了这部分重量中的大部分。

事实上电气部分和结构减重已经帮助 Model 3 减轻了大部分可减重量,还嫌不够怎么办?

二、从细节上抠。

在第一次了解到 Model 3 电池包正负极连接结构的时候,我很是震惊。

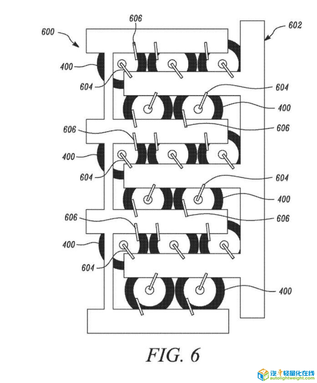
先放一张特斯拉在专利中公布的电池连接结构图:

来自特斯拉最新专利

图上圆柱形的自然就是 2170 电池,左侧的树枝状铝片是整个电池组的负极部分,右侧树枝状铝片是正极。

连接电池正极的铝丝通过超声波焊接在电池正极正中心的位置,连接电池负极的铝丝则剑走偏锋,连接在 2170 电池正极同一侧最外沿的负极上,也就是图上黑色部分,这部分的宽度只有 1.5-2 mm,同样使用超声波焊接工艺。

然而由于电池正面可供连接的负极部分实在太窄,负极铝丝的超声波焊接成功率在 Model 3 量产的早期阶段并不尽如人意,电池包产能严重受到制约。

解决方法主要是两个:

一是电池之间的聚合物在焊接之前就填充到位,保证各个电芯的结构稳定性。

二是采购了更好更强大的超神波焊接机,提高焊接精度。

解决负极连接的工艺问题可谓是费时费力,那么好处呢?还是减重。

先看三张对比图。

传统的电阻焊连接工艺

Model S 的电池连接工艺

Model 3 的电池连接工艺

Model S 电池模组里的电池连接方式比起传统的电阻焊已经是革命性改变,电阻焊只是通过简单粗暴的电流短路方式把铝片上的 N( N 为 2 的倍数)个点融化到电池正负极上,毫无美感也提供不了单个电池的断路保护功能。

Model S 的电芯则通过电池两侧的铝丝与一整块铝片连接,在单个电池电流过大的情况下可以提供断路保护,也提供了维修时的补焊能力。

而到了 Model 3 上,可以很明确的看到,正负极连接片从一整片变成了布局在电池组两侧,而非电芯正反面的树枝状连接片。也就是原先是 2 个面的铝片变成了 1 个面,同时还更细更轻。如果单纯的以一整个面的铝片来计算,那么这部分的减重又是若干公斤。

这一设计带来的另一个好处则是散热,电池反面不需要连接电极之后就可以直接与绝缘导热底板接触,甚至安装额外的底部散热管路,提高电池包热管理能力。

值得称赞的是电池包大幅减重之后 Model 3 的安全性并没有因此下降,美国公路安全保险协会(IIHS)给予了 Model 3 正面碰撞预防测试最高评级。而在一个多月前的一起交通事故中,一辆 Model 3 与其他车辆发生碰撞后又撞向水泥隔离墩并翻滚多次,在车头部分严重受损的情况下驾驶舱保持完整,且电池没有起火。

当然,特斯拉在 Model 3 电池包的安全保证远不止车身底盘那一圈超高强度钢材。为了应对极端撞击情况下电池受损之后出现的热失控现象,Model 3 电池模组的正负极覆盖材料上设计了很多“预留泄压孔”,这些泄压孔使用了更加脆弱的材料。在单个或多个电芯结构被破坏,喷出炙热气体时,泄压孔能及时溶解,把热失控电池散热的高温气体及时排出,以免影响其他电池,这个设计有些类似坦克上的弹药舱泄压门。

综上而论,Model 3 在电池包减重轻量化上是无所不用其极,甚至在早期脱离了特斯拉所掌握的工艺范畴,还好通过后续改进埋掉了此前留下的大坑。

从 Model 3 的产品演进方向也能看到,为了控制整车能耗并且兼顾入门级车辆的车身维护成本,特斯拉将车身极致轻量化的指标转移到电池包上,为此不惜带来产能爬坡上的困难节点。

因为,续航和能耗是电动车打入主流市场的根本啊。


路过

雷人

握手

鲜花

鸡蛋
Empty Ads

相关阅读

此篇文章已有0人参与评论

请发表评论

全部评论

精彩阅读

广告位

关注汽车轻量化最新动态

官方微信

汽车材料网

全国服务热线:

0551-63857995

地址:安徽省合肥市庐阳区四里河鼎鑫中心

邮编:230001 Email:service@qichecailiao.com

Powered by 汽车轻量化在线  皖ICP备10204426号-2

小黑屋-手机版- 汽车轻量化在线