新材料与工艺手册
导读

[车身轻量化] 汽车车身焊接技术的研究进展

0
回复
4333
查看
[复制链接]

微信扫一扫 分享朋友圈

发表于 2020-8-6 11:56:51 | 显示全部楼层 |阅读模式

注册后就可以查看哦!

您需要 登录 才可以下载或查看,没有账号?立即注册

x
汽车轻量化在线】汽车车身焊接技术的研究进展

陈道齐
(福州职业技术学院,福建 福州 350108)
摘 要:众所周知,石油是不可再生能源,同时受全球环境影响,节能减排势在必行,汽车轻量化研究将是汽车工业发展主要研究方向。文章介绍了汽车车身焊接中运用到的传统焊接技术,并对国内外新型的车身焊接技术发展进行综述。为汽车车身轻量化设计提供了新的焊接思路。
关键词:汽车焊接技术;轻量化;汽车材料
前言
传统的钢、铁材料作为汽车车身材料与现有的以工频电阻点焊为主汽车车身焊接技术,已经很难满足汽车车身“节能、环保、安全”的要求。研究表明,汽车重量每减少100 kg,可节省燃油0.3-0.5L·( 100 km) -1,可减少CO2 排放8-11 g·( 100 km) -1[1]。据世界铝业协会数据报告显示,汽车质量每减少1%,汽车在行驶中燃油的消耗就会减少6%到8%。由此可见汽车轻量化是减少能耗和污染物排放的最有效可行路径之一,目前汽车轻量化主要研究方向一方面是研发汽车车身新型材料优化车身结构,另一方面是运用先进的汽车车身焊接技术。随着汽车材料技术的不断发展,越来越多的新型材料被运用到汽车白车身上,如轻金属材料:铝合金、高分子材料、碳纤维等特种材料都得到广泛的运用[1]。同时随着汽车焊接技术的不断发展,一些新型汽车车身焊接技术已经在汽车工业中得到广泛的运用,如激光拼焊、钎焊、中频电阻焊、气体保护焊、摩擦搅拌点焊等。

1 汽车车身材料技术的发展
车身占汽车总重量的三分之一重,所以车身材料的选择对汽车轻量化起着重要影响。汽车车身材料选择原则:(1)满足汽车零件的使用性能要求,如安全性等;(2)具有良好的工艺性能;(3)具有较好的经济性。
在汽车工业发展100 多年来,钢和铁一直都是作为汽车车身生产的主要金属材料[2]。但是随着能源、环境问题不断影响和科学技术的不断发展,钢铁材料在车身上运用呈现下降趋势,而其他一些轻金属材料、高分子材料、特种材料等先进材料被运用到汽车生产中。国内外汽车材料技术研究方向主要有复合材料高强度钢材料、铝合金材料。
李镇等人[3]在研究中发现镀层能够有效抑制铝铁间的扩散反应,并发现铝/镀锌钢抗拉剪强度最大。
梁森等人[4]在研究中发现高强度、高刚度、高性能的复合材料在汽车车身结构轻量化设计中扮演着越来越重要的角色。
徐峰祥等人[5]在研究中发现采用的光滑策略在分析车身复合材料零部件动力特性方面具有较好的可靠性和有效性。
Goede M 等人[6]在研究中发现为了充分利用各材料的优异性能,将多种轻量化材料拼焊成钢/铝、铝/镁、钢/镁等多材料一体化复合构件成为一种趋势。
福特Ford P2000 的前门内板上就成功地采用了不同厚度的铝合金拼焊板,采用的母材为AA5182[7]

2 汽车传统焊接技术
传统汽车焊接技术有手工电弧焊、气焊、气体保护焊、等离子弧焊、电阻焊、等。其中手工电弧焊、气焊、气体保护焊、主要运用在汽车车身修复上,等离子弧焊、电阻焊、激光焊则运用在汽车工业生产中白车身的焊装上。

2.1 手工电弧焊
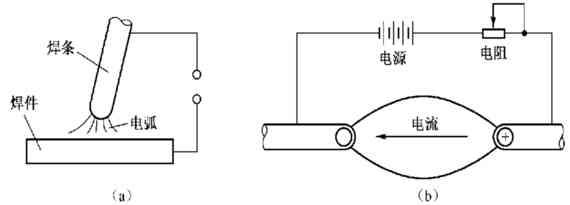
手工电弧焊由电源、电缆、焊钳、焊条、焊件组成,是利用焊接电源在焊条和焊件之间的电弧热使金属和母材熔化形成焊缝的一种焊接方法。其示意图如图1:

图1 手工电弧焊示意图

手工电弧焊是最基本也是最常用的一种焊接方法,它不仅可以焊接各种低碳钢、低合金结构钢、铸铁等,还可以焊接多种有色金属上,能焊接90%常用金属。手工电弧焊在主要运用在汽车车身修复上,比如修复断裂的零件或磨损件等。

2.2 气焊
气焊与手工电弧焊不同,它是将可燃气体与助燃气体在焊炬混合后引燃后,利用产生的高温火焰作为热源将焊件和焊丝融化,形成熔池待冷却后形成焊缝的一种焊接方法。其原理示意图如图2。
由于气焊的热源产生的热能有限,所以气焊一般用来焊接一些较薄的钢板或者熔点较低的材料。在汽车钣金作业中,气焊是常用的方法之一。


图2 气焊原理图
2.3 气体保护焊
熔化极惰性气体保护焊,是以连续送进的焊丝作为熔化电极,采用惰性气体作为保护气体的电弧焊方法,简称MIG(Metal Inertia Gas)焊。其原理示意图如图3:

图3 熔化极惰性气体保护焊
在汽车钣金焊接维修作业中,熔化极惰性气体保护焊常用的方法之一,它主要应用于一些活性较强金属的焊接,例如不锈钢、耐热合金、铜合金及铝镁合金等。

2.4 等离子弧焊
等离子弧是电弧的一种特殊形式。当自由电弧被压缩后,即可形成等离子电弧。利用等离子电弧可以进行焊接。从本质上讲,等离子电弧仍然属于一种气体放电的导电现象。按焊缝的成形原理,等离子弧焊有3 种基本方法,即穿透型等离子弧焊,熔化透型等离子弧焊和微束等离子弧焊。

2.5 工频电阻焊
电阻点焊是对金属板材装配成搭接接头,利用电流流过电阻(工件)时产生热量(Q=I2Rt)熔化母材金属形成熔核最终形成焊缝的一种焊接方法。其工作步骤主要分四步:1、加压;2、保持;3、通断电流;4、泄压。其原理图如图4所示:

图4 电阻点焊原理图

3 汽车先进焊接技术
伴随着汽车材料技术的不断发展,越来越多的新型材料运用到汽车生产中,新的先进焊接技术也运运而生。目前运用到汽车车身焊接的先进焊接技术有摩擦搅拌焊、钎焊、磁脉冲焊( MPW) 等。相对而言,激光焊热源控制精准、热量集中、应力应变较小,更加适用于钢、铝异种材料的焊接。传统的工频电阻焊技术进行技术改进,改成中频电阻焊。

3.1 激光焊、激光-电弧复合焊
激光焊是一种利用高能量密度的激光束作为热源的一种高效精密焊接方法, 通过高能量密度熔化金属,焊接效率高,且热影响区小、焊接变形小,被广泛地应用在汽车生产制造中[8]。
激光拼焊能够将不同强度等级、不同厚度、不同镀层的材料拼焊在一起,可以优化选材,提高材料的综合力学性能。整体冲压成形,可减少零件及模具,提高零件整体刚度,保证材料的安全性能,是汽车轻量化的主要技术之一,在汽车覆盖件中得到广泛应用。

3.2 冷金属过渡焊接技术
冷金属过渡焊接(CMT)技术是在短路过渡的基础上设计的,但是CMT 焊接熔滴接触到熔池发生短路时,焊接电流瞬间降至几乎为零,通过冷-热”之间的交替变化大大降低了焊接热量的产生低15%~30%的焊接热输入量。正确设置熔滴参数,可实现更好的焊缝厚度过渡,提高焊接速度的同时可以保证熔滴过渡几乎无飞溅。

3.3 搅拌摩擦焊及搅拌摩擦点焊
搅拌摩擦焊(Friction stir welding,FSW)是由快速旋转的钻头与钣金件摩擦产生的热量作为热源熔化局部的被焊材料,在钻头的挤压下被焊材料形成致密的固相焊缝。与其他形式的焊接技术比,FSW 不需要消耗焊条、保护气等材料,无飞溅、无烟尘、能有效避免气孔及显微裂纹,且因为需要的热源热量低,不受异种材料物理化学性质晶体结构的影响,在焊接铝、镁合金及钢-铝异种金属时具有较大优势[10-12]。

3.4 电极带式电阻点焊
电极带式电阻点焊不仅保护电极不受污染,还能有效调节异种金属焊接时的电阻热平衡,从而改善焊点质量、节约能源,在轻量化车身焊接领域中具有广阔的应用前景。

4 展望
由于起步晚,我国汽车工业整体水平落后于欧美国家。但今后先进的汽车材料和焊接技术可以让车身减重从而让汽车达到节能减排的要求。汽车材料的研究可以往轻金属方向研究,焊接技术可以侧重激光焊和摩擦搅拌焊的研究。
您需要登录后才可以回帖 登录 | 立即注册

本版积分规则

关注汽车轻量化最新动态

官方微信

汽车材料网

全国服务热线:

0551-63857995

地址:安徽省合肥市庐阳区四里河鼎鑫中心

邮编:230001 Email:service@qichecailiao.com

Powered by 汽车轻量化在线  皖ICP备10204426号-2

小黑屋-手机版- 汽车轻量化在线